熱塑性聚碳酸酯陽光板的維卡軟化溫度檢測試驗方法參照GB/T 8802—2001標準規定。把陽光板放在液體或加熱箱中,在等速升溫條件下測出的標準壓針在(50±1)N力作用下,壓入板材內1mm時的溫度稱為維卡軟化溫度。壓入1mm時的液體介質(或加熱箱)溫度,即是陽光板的維卡軟化溫度(VST),單位℃。
(1) 維卡軟化溫度檢測試驗用設備
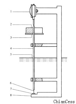
① 維卡軟化溫度檢測試驗用儀器結構示意圖如圖1所示。

圖1 維卡軟化溫度檢測儀結構示意
1—千分表;2—砝碼;3—載荷托盤;4一負載桿;5—加熱介
質液面;6—壓針;7—試樣;8—儀器支架
維卡軟化溫度儀應具備下列條件。
a、負載桿應選用受熱變形小的鋼材制造。
b、壓針固定在負載桿下端,長3mm橫截面積為(1±0.015)mm2,壓針應用熱變形小的硬質鋼制造,各工作面光潔,壓針固定后與負載桿在同一中心線上。
c、千分表是用來測定壓針壓入試樣深度,檢測精確度應不大于0.01mm。
d、加熱介質液可用石蠟、變壓器油或硅油類物品,只要測試溫度穩定,對試樣不產生影響的任何液體均可。
e、負載桿的總靜載荷為G=W+R+T=50N。即加砝碼的質量應是
W=50-R-T
式中 W——砝碼質量,N;
R——壓針、負載桿和載荷托盤質量,N;
T——千分表等附加壓力,N。
② 水銀溫度,用來檢測加熱介質溫度,分度值為0.5℃。
③ 浴槽中有加熱裝置和攪拌器。要求加熱介質能以每小時(50士5)℃速度升溫。試驗過程中,每6min間隔時間內的溫度變化在(5±0.5)℃范圍內。
檢測儀也可在有熱風循環的加熱箱中進行檢測試驗。
⑵ 陽光板條件
① 板材應是從管材上沿軸線裁下的弧形管段,長度50mm、寬10~20mm。
② 板材用壁厚度應在2.4~6mm之間。大于6mm厚的壁厚,要加工成厚度為4mm;小于2.4mm的壁厚,應用兩塊疊加在一起,使其厚度大于2.4mm。
③ 試樣檢測放人液面以下,距液面不小于35mm。
④ 試樣檢測前,要在低于其軟化溫度(VST)50℃溫度加熱箱中預處理至少5min。
⑶ 檢測試驗操作順序
① 加熱浴液溫度至低于試樣軟化溫度50℃止,并恒溫。
② pc陽光板凹面向上,水平放置在無負載的壓針下(壓針著力點應距試樣邊緣不小于3mm)。
③ 整個試驗檢測裝置放在浴槽內,測溫裝置(水銀溫度計或測溫傳感器)應靠近板材,并在同一水平面上。
④ 5min后,在載荷托盤上加上負荷質量[此時壓針對板材的總軸向壓力為(50±1)N]。把千分表指針調至零位。
⑤ 啟動攪拌器,以每小時(50±5)℃速度為浴液加熱升溫。
⑥ 當壓針壓入試樣內(1±0.01)mm時,記下此時的浴液溫度。此溫度即是此聚碳酸酯陽光板的維卡軟化溫度。一個制品可采用幾個試樣分別檢測,則其平均溫度即是比較準確的維卡軟化溫度。
《聚碳酸酯陽光板的維卡軟化溫度檢測試驗》一文由http://m.oruilian.com原創提供,如需轉載請注明出處。